Lynxin tankin suodatin

Keskustelun 'Lynx' on aloittanut käyttäjä kapsa, 5/2/26.

  1. kapsa

    kapsa Well-Known Member

    Miten tankin suodattimen pystyy vaihtamaan
     
  2. znood

    znood Well-Known Member

    Mikä kelkka, malli ja vuosimalli ?
     
  3. pezq^

    pezq^ Shredder & Skandic

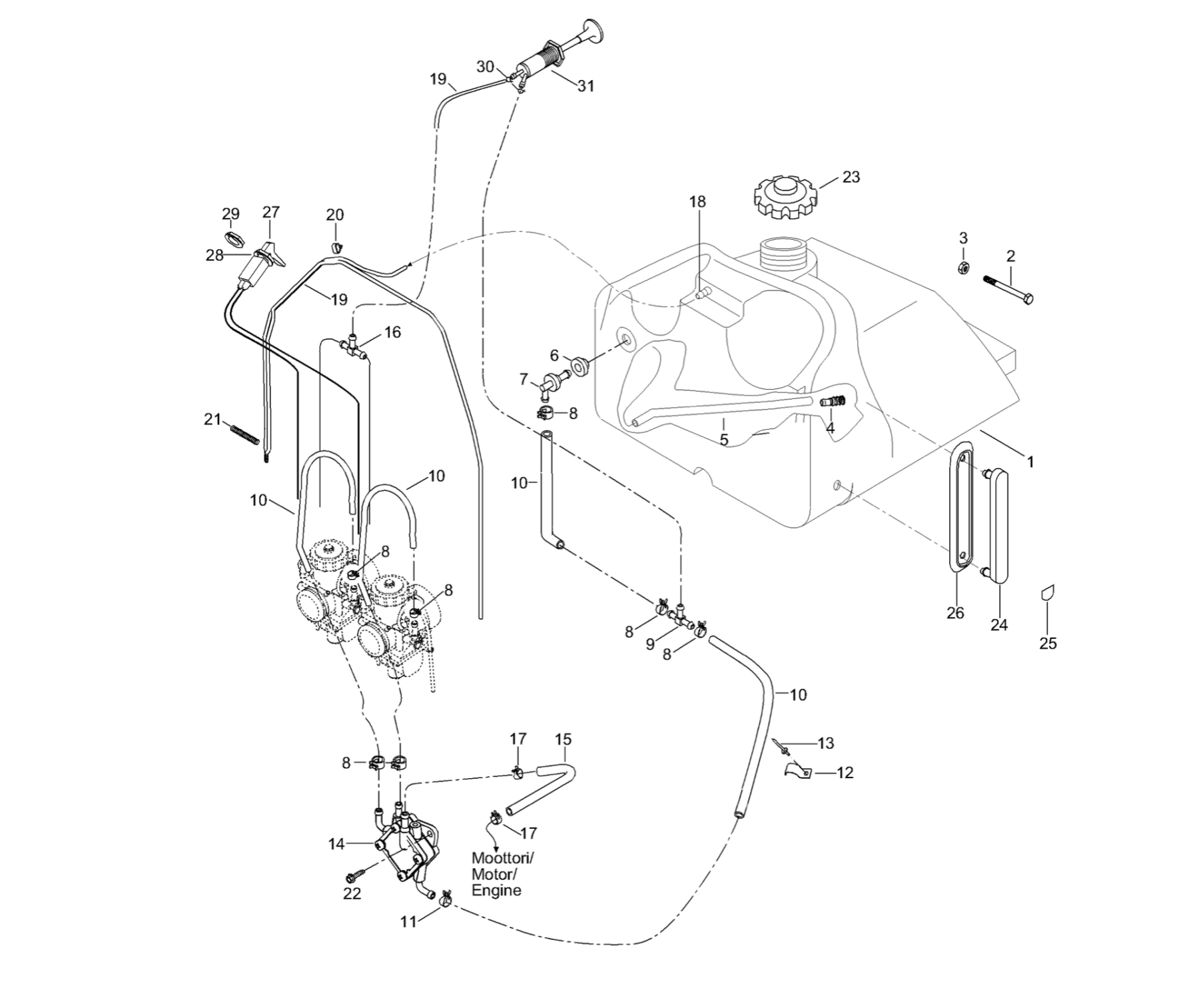
    Senverran leveänlaisesti esitetty kysymys, että helppo vastata. Yksinkertaisuudessaan, tankissa olevan letkun nokassa on suodatin, tai monia suodattimia, ongi se/ne esille pumpun, tai tankkaus reiästä ja vaihdat:D
     
    T-Cat tykkää tästä.
  4. kapsa

    kapsa Well-Known Member

    Kelkka lynx safari400 2002 malli
     
  5. kapsa

    kapsa Well-Known Member

    Olen yrittänyt koukulla pilkkiä tankinreiästä ,ei osunut onkeen ,sitä tässä ihmetellyt
     
  6. Hemmo

    Hemmo Paluu Tulevaisuuteen -

    Vedä letku ulos tankin polttoaineletkun läpiviennin kautta. Se mahtuu tulemaan sieltä läpivientikumin kanssa pihalle. Tarkistat samalla onko letku kunnossa ja vaihdat uuteen mieluusti vaikka olisikin kunnossa. Sit vaan käänteisesti letku ja läpivientikumi takaisin tankkiin. Ota kaasareiden imupönttö pois ja letku saattaa tuurilla olla siinä takana heti näkyvillä. Muista että tankki pitää olla täysin tyhjä ja kannattaa nostaa kelkan keula ylemmäs niin ne tankin vähäiset bensat jää takalaitaan eikä tulvi kartanolle kun aukaiset läpiviennin.
     
    kapsa tykkää tästä.
  7. Rock OLA

    Rock OLA "wannabe kelkkamies"

    kapsa tykkää tästä.
  8. kapsa

    kapsa Well-Known Member

    OK suuret kiitokset selkeistä ohjeista
     
    Hemmo tykkää tästä.

Suosittele tätä sivua